Nokian hiljattain saama patentti enteilee uudenlaisia innovaatioita laitevalmistukseen.
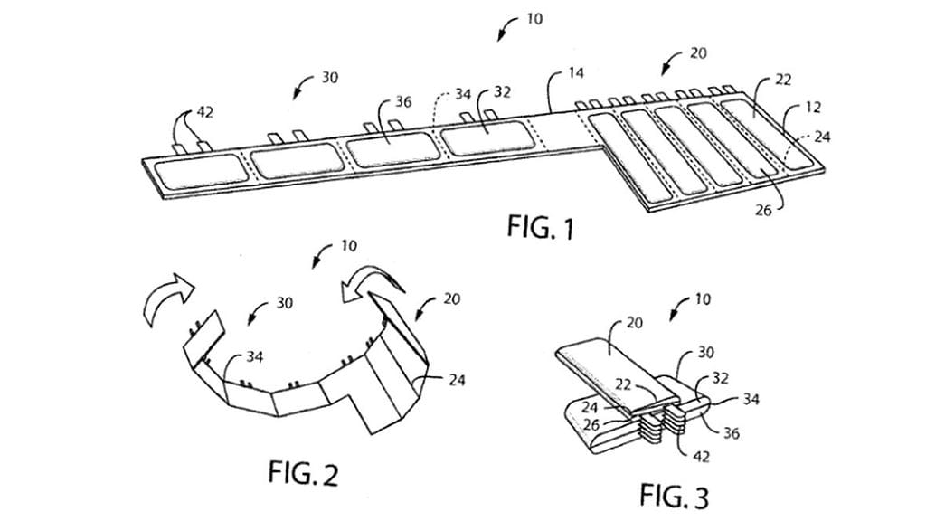
Nokia on saanut patentin taipuvalle akulle, joka koostuu toisiinsa kytkeytyvistä erillisistä kennoista, joiden avulla akusta saadaan taipuisa.
Täten akkua voitaisiin käyttää mm. kaarevissa laitteissa.
Nokia Power User -sivustolla pohditaan, että Nokian innovaatio saattaa mahdollistaa erittäin ohuiden laitteiden valmistuksen, koska se on kooltaan mukautumiskykyinen.
Keksintöä voitaisiin myös käyttää älypuhelimissa, älykelloissa ja päälle puettavan teknologian osa-alueilla.

